
(2).jpg)
| ◇工作原理 |
|
LKUHZ磁性浮子液位計根據浮力和磁耦合原理,測量筒內磁性浮子隨被測液面的升高(降低)驅動測量筒外部顯示器上的雙色翻柱旋轉180℃顯示紅色(反向旋轉180℃顯示白色)實現了測量和顯示被測液面位置的目的。磁性浮子液位計也叫磁翻柱液位計或者磁翻板液位計,每個磁翻柱雙色軸向對稱結構,兩個磁翻柱間的間距為10mm或20mm,分別以白色和紅色來指示氣相部分和液相部分,也可選擇下部白色表示液體部分上部紅色表示氣體部分。紅色與白色交接處就是液相與氣相的分界處。該液位計也能用于兩種不同密度介質的界面測量。 |
| ◇產品特點 |
| LKUHZ系列磁性浮子液位計的接液零部件材料采用321、316、316L、304、321襯PTFE(聚四氟乙烯)、PVC、PP等材料,運行穩定、可靠。產品特點十分顯著: 1.設計簡單、緊湊、堅固可靠、壽命長、免維護,能長年在戶外安裝使用; 2.測量管與液位顯示部分、液位發送器、報警開關在耐壓、耐氣上是完全隔離的; 3.工作壓力范圍寬,耐壓≤16MPa; 4.工作溫度范圍寬,普通型≤350℃、 遠傳型≤80℃、防腐型≤120℃ 5.廣泛用于強腐蝕性、易燃、易爆、有毒等液位測量; 6.各型號均可選配一個或數個保持ON/OFF報警開關,實現高低液位自動報警; 7.各型號均可選配4-20mA液位傳感器,實現遠距離集中測量與控制。 |
| ◇產品適用對象 |
| LKUHZ系列磁性浮子液位計能廣泛用于石油、化工、油田、醫藥、食品、酒業等行業中各類貯液罐、貯槽、貯液池、反應罐、發酵罐內液體、油品、液化氣、液氨、強酸堿液、發電廠鍋爐汽包、除氧器、疏水箱、回水箱、高低壓加熱器、凝結器、蒸發器以及其他壓力容器內與 321 、304、321+內襯(F46、F4、PTFE)、316、316L、PVC、PP相容液體介質的液位、液面及兩種不同介質界面測量與顯示。有多種安裝形式供用戶選擇,以適應不同場合、環境的要求。本安和隔爆二種形式的防爆類型可滿足不同使用場合的要求。 |
| ◇附加功能選擇項 |
| 為滿足不同場合和環境的需要可附加如下選項: 1.各型號均可選配無源自保持ON/OFF報警開關,實現高低液位自動控制或報警; 2.各型號均可選配4-20mA液位傳感器,實現遠距離集中測量與控制。 3.液位計底部排污閥,方便使用中排污。 |
|
LKUHZ系列磁性浮子液位計的分類與命名 |
![]() |
|
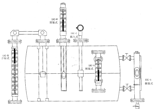
LKUHZ磁性浮子液位計示意圖 |
![]() |
版權所有 Copyright(©)2009-2011 江蘇力科儀表有限公司
電話號碼:0517-86909222 商務熱線:15305232668 傳真:0517-86909221
地址:江蘇省金湖縣工業園
技術支持:易品網站建設專家 蘇ICP備13047422號-1